News

April 2026

We are pleased to welcome a graduate student researcher, Mr. Andrew J. Parsons, to our research group!

He will be working on computational microscopy methods and micromagnetic simulation frameworks, and will be coadvised with Prof. Vitaliy Lomakin. Mr. Parsons earned a B.S. in Physics at the University of California Davis. In Fall 2025, he joined the UCSD Physics PhD program.

March 2026

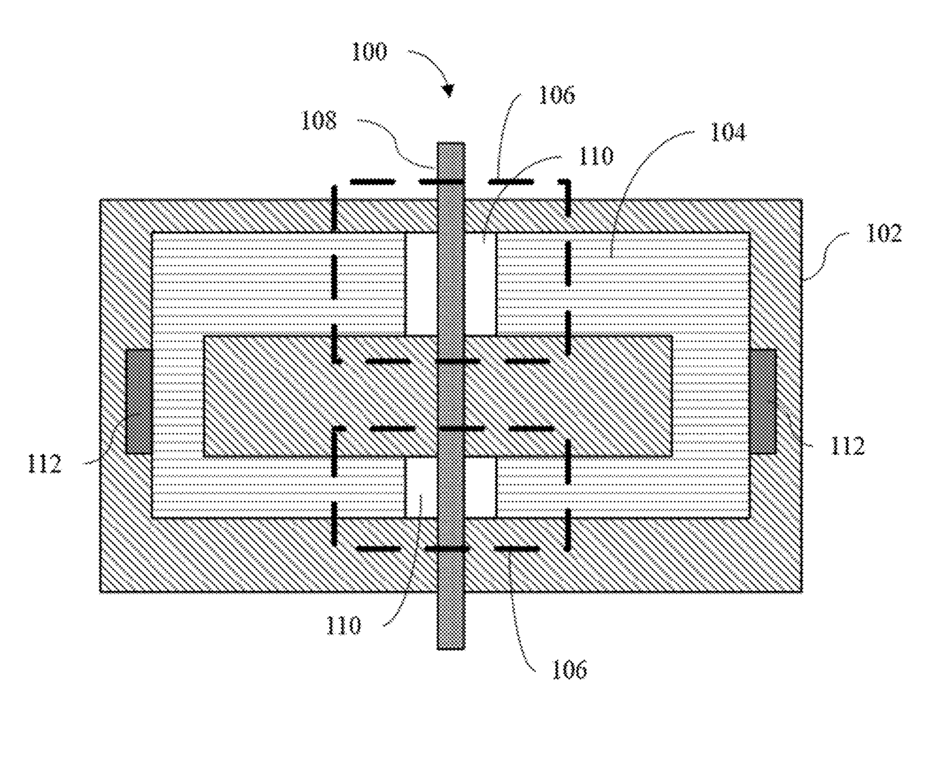
A patent application, US 12,584,977 B2, titled ‘Magnetic Field Detector’ was issued on February 24, 2026.

Patent Abstract: A magnetic field detector includes a substrate, two or more Josephson junctions, and one or more heater elements. The two or more of Josephson junctions are connected to each other by superconducting interconnected paths via a superconducting material and are arranged in an array. The one or more heater elements directly or indirectly adjust the temperature of at least one Josephson junction via a tunable power source.

February 2026

A co-authored journal article, titled ‘Magnetically modified double-slit-based x-ray interferometry’ was accepted for publication in Physical Review Research on February 26, 2026.

Paper Abstract: We demonstrate an experimental approach to determine magneto-optical effects that combines x-ray magnetic circular dichroism (XMCD) with x-ray interferometry, based on the concepts of Young’s canonical double slit. By covering one of two slits with a magnetic thin film and employing XMCD, we show that it is possible to determine both the real and the imaginary parts of the complex refractive index by measuring the fringe shifts that occur due to a change in the sample magnetization. Our hybrid spectroscopic-interferometric methodology provides a means to probe changes in the magnetic refractive index in terms of the electron spin moment.

February 2026

On February 6, 2026, Dr. Sergio Montoya (UCSD) entered a cooperative research and development agreement with Dr. Marcio de Andrade (Naval Information Warfare Center Pacific) with focus on performing basic research on superconducting electronics.

October 2025

A co-authored journal article, titled ‘Beam shaping induced reconfigurable magnetic domains’ was submitted to Nature Communications on October 31, 2025.

Paper Abstract: Ultrafast all-optical switching (AOS) in ferromagnets has emerged as a promising route toward dense and energy-efficient magnetic memory. However, its implementation has typically been limited by material-specific polarization requirements or by the need for auxiliary exchange coupling and compositional tuning. Here, we demonstrate that deterministic control of AOS can instead be achieved purely through optical engineering. By tailoring the polarization distribution and focusing of the excitation light, we shift the selectivity from intrinsic material properties to external beam shaping. In stand-alone [Pt/Co]𝑁 multilayers, this enables direct control over local heating and optical torques, allowing the system to be driven either into helicity-dependent, multishot domain-wall propagation or into helicity-independent magnetization reversal, without material modification or external bias fields. Our results establish optical beam design as a universal control knob for magnetization dynamics in ferromagnetic systems, defining a scalable pathway for integrating ultrafast spintronic functionality with on-chip photonics.

September 2025

We are pleased to announce that Mr. Murray was conferred a UCSD ECE departmental PhD fellowship for the 2025-2026 academic year. Congratulations!

June 2025

We are pleased to welcome a new graduate student researcher, Mr. William Murray, to our research group!

He will be working on computational microscopy methods and micromagnetic simulation frameworks, and will be coadvised with Prof. Vitaliy Lomakin. Mr. Murray was recently conferred a B.S. in Mathematics & B.S. in Physics from the University of California Riverside, and has accepted an offer to join the Ph.D. program, in Fall 2025, at the UCSD Department of Electrical and Computer Engineering.

June 2025

We are pleased to welcome a new graduate student researcher, Mr. William Murray, to our research group!

Mr. Murray was recently conferred a B.S. in Mathematics & B.S. in Physics from the University of California Riverside, and has accepted an offer to join the Ph.D. program, in Fall 2025, at the UCSD Department of Electrical and Computer Engineering.

June 2025

On June 19, 2025, the IEEE Recommended Practice of Use of Storage Sanitization Methods (IEEE Standard 2883.1-2025) was published; this standard addresses recommendations in using the sanitization methods specified in IEEE Standard 2883 to appropriately sanitize storage media before reuse, resale, or disposal. The IEEE Standard 2883.1-2025 was developed by the IEEE Security in Storage Working Group, on which Dr. Sergio A. Montoya is a member.

May 2025

We are pleased to announce that Ms. Ashley Corey secured and will undertake a summer 2025 research internship at the Naval Information Warfare Center Pacific in San Diego, CA. During her 10-week internship she will explore the development of machine learning tools for efficient pulsed laser deposition. The internship is supported by the Naval Research Enterprise Internship Program.

May 2025

We are pleased to announce that Mr. Miki Korol secured and will undertake a summer 2025 research internship, at the Institut Jean Lamour, Université de Lorraine in Nancy, France, under the supervision of Prof. Stéphane Mangin. During his 8-week internship he will study ultrafast demagnetization of thin film magnetic materials. The summer internship is part of the US / France Multidisciplinary Collaboration in Nanoelectronics and Next Generation Computing , a collaborative educational program that is operated between University of California, San Diego, New York Univisertiy, Université de Lorraine, and Université Paris-Saclay; the program is supported by the U.S. NSF International Research Experiences for Students.

May 2025

On May 16, 2025, Ms. Ashley Corey provided a technical annual brief at the UCSD Naval Innovation Science & Engineering Center in which she highlighted recent experimental results from the multidisciplinary collaborative research project, Superconducting Spintronic Devices.

March 2025

A recent co-authored journal article, titled ‘Multimodal Correlative Study of Hall Transport and Magnetic Phases in Fe/Gd Multilayer Systems’ was accepted for publication in Applied Physics Letters on March 10, 2025.

Paper Abstract: The Fe/Gd multilayer system hosts a number of magnetic phases, such as stripe, mixed stripe and skyrmion, skyrmion lattice, and isolated skyrmions for a wide range of temperature and magnetic field. We report different Hall transport signals in an Fe/Gd system through multimodal correlative resonant soft X-ray scattering (RSXS), Hall effect, magneto- optic Kerr effect (MOKE), and transmission X-ray microscopy (TXM) measurements. The simultaneous nature of the RSXS and Hall transport measurements allowed us to accurately connect various features in the transport data with the specific magnetic phases. We found that the topological Hall effect (THE) shows peaks with opposite signs which we attribute to two different mechanisms. Our multimodal correlative study indicates that the sign reversal in THE occurs when the system transforms to and from a skyrmion lattice and low density isolated skyrmion phases. We propose that the skyrmion lattice contributes to the THE through a Berry phase induced emergent magnetic field mechanism in one case, and a skew scattering mechanism corresponding to the isolated low density skyrmion state.

February 2025

A patent application, US 19/063,078, titled ‘Spatial and Frequency Dependent Biomagnetic Field Detector’ was submitted on February 25, 2025.

Patent Abstract: A biomagnetic field detector for sensing a magnetic field component of electromagnetic (EM) signals emitted from a biological tissue comprising: a plurality of hybrid electrically small magnetic field sensitive (ESMFS) devices arranged in an array configuration, wherein each hybrid ESMFS device comprises: a superconducting coil configured to amplify low frequency and low amplitude magnetic fields over a localized surface area of the biological tissue, wherein the superconducting coil is designed to have a constricted section where current density across the constricted section is greater than unconstricted sections of the superconducting coil; and a magnetic-field-sensitive sensor positioned proximal to the constricted section and configured to detect the amplified low frequency magnetic fields from the superconducting coil; and wherein the plurality of hybrid ESMFS devices are arranged in a 2-dimensional array configuration so as to capture spatial biomagnetic information regarding the biological tissue.

January 2025

A patent application, US 19/027,634, titled ‘Modular cryogenic package for operating cryogenic and/or superconducting technologies’ was submitted on January 17, 2025.

Patent Abstract: A cryogenic system comprising: a hybrid cryocooler having a room-temperature feedthrough flange (RTFF) separating multiple temperature stages from a room temperature environment; first and second interface modules configured to be removably inserted through the RTFF, wherein each interface module contains electronic components operable at cryogenic temperatures and that are thermally and electromagnetically shielded by their corresponding interface module; and wherein the first and second interface modules interface with the cryogenic system such that removal of a given interface module from the cryogenic system does not prevent a remaining interface module from continuing to operate.

November 2024

A recent co-authored journal article, titled On ultrafast x-ray scattering methods for magnetism’ was published on Advances in Physics X on November 24, 2024.

Paper Abstract: With the introduction of x-ray free electron laser sources around the world, new scientific approaches for visualizing matter at fundamental length and time-scales have become possible. As it relates to magnetism and ‘magnetic-type’ systems, advanced scattering methods are being developed for studying ultrafast magnetic responses on the time-scales at which they occur. We describe three capabilities which have the potential to seed new directions in this area and present original results from each: pump-probe x-ray scattering with low energy excitation, x-ray photon fluctuation spectroscopy, and ultrafast diffuse x-ray scattering. By combining these experimental techniques with advanced modeling together with machine learning, we describe how the combination of these domains allows for a new understanding in the field of magnetism. Finally, we give an outlook for future areas of investigation and the newly developed instruments which will take us there.

November 2024

On November 15 , 2024, the 2025 UC National Laboratory Research Program afforded us a Collaborative Research and Training award to pursue basic research on ‘Topological Antiferromagnets for Energy Efficient Memory and Computing’. The program is lead by Prof. Eric E. Fullerton (UCSD), and collaborating partners include: Prof.  Ilya N. Krivorotov (UCI), Prof. Judit Romhanyi (UCI), Dr. Sujoy Roy (LBNL), Dr. Peter Fischer (LBNL), Dr. Christoph Klewe (LBNL), Prof. David Lederman (UCSC), Dr. Charles Reichhardt (LANL), Dr. Avadh B. Saxena (LANL), and Dr. Sergio A. Montoya (UCSD).

The program is aimed to exploit the unique properties of emergent antiferromagnetic materials to address fundamental challenges to the microelectronic industries by creating new types of non-volatile memories for next generation computing.

November 2024

A patent application, US 18/939,960, titled Direction Finding Using a Single Electrically-Small Electromagnetic Field Sensing Device’ was submitted on November 7, 2024.

Patent Abstract: A system for direction finding comprising: a single electrically-small radio frequency (ESRF) device configured to measure an amplitude of an incoming RF signal; a docking stage configured to rotate about a center axis, wherein the ESRF device is mounted to the docking stage at an oblique angle to the z-axis such that with each rotation of the docking stage, the ESRF device passes through a plurality of discrete rotational positions so as to replicate a circular array of ESRF devices; and a processor configured to calculate an angle of arrival (AoA) of the incoming signal based on the measured amplitude of the incoming RF signal at each of the plurality of rotational positions.

October 2024

A patent application, US 18/930,799, titled Nonvolatile Memory Devices Based on Hybrid Magnetic-Superconductor Soliton States’ was submitted on October 29, 2024.

Patent Abstract: A cryogenic memory device comprising: a magnetic element made of thin film material and capable of forming at least one skyrmion; a superconducting element made of thin film material and capable of forming at least one superconducting vortex; and a nonmagnetic thin film barrier material that separates at top surface of magnetic element from a bottom surface of the superconducting element so as to form a skyrmion-based nonvolatile cryogenic memory.

June 2024

Ashley Corey participated in the National Security and Naval Power Bootcamp that was hosted by the Consortium on Naval Enterprise Pathways, George Washington University, in Washington D.C., taking place from June 3 to 7, 2024. Congratulations!

The National Security and Naval Power Bootcamp i s a week-long, residential course designed for students to explore policy, security, and technical issues a t the intersection of national security and naval power.   By the end of the course, attendees will understand the strategic and diplomatic values of sea power and the importance of oceans to national security policy, as well as how the Navy maintains freedom of the seas. They will learn how the work of scientists and engineers is leveraged to implement policies and will leave with an understanding of naval and national security policy dilemmas and potential solutions.

May 2024

A recent co-authored journal article, titled Periodicity staircase in a centrosymmetric Fe/Gd magnetic thin film system, npj Quantum Mater. 9, 2 (2024)’, was recently highlighted as an LBNL Advanced Light Source Science Highlight.

The “Devil’s Staircase” is a peculiar mathematical function that rises continuously but has no slope (i.e., its derivative is zero almost everywhere). This is because it consists of “runs” (flat sections) connected by “rises” that are fractal: each contains successively smaller copies of the main step, to the infinitesimal limit. Similar structures have emerged in phenomena ranging from earthquakes to charge density waves—systems characterized by competing pressures that result in periods of stability punctuated by short bursts of activity. Here, researchers report the observation of novel staircase patterns in the evolution of spin-stripe domains in an iron/gadolinium (Fe/Gd) multilayer system. Theoretical modeling that builds on the measurements revealed which of the competing atomic-level interactions in this system is the dominant cause of the staircase structure. The findings help unravel the complex interplay of forces affecting spins in systems relevant to applications in magnetic sensing, information storage, and spintronics.

May 2024

A patent application, US 18/667,943, titled ‘Devices and methods for degaussing magnetic recording storage media’ was submitted on May 17, 2024.

Patent Abstract: An improved degaussing system for sanitizing data stored in a magnetic storage device (MSD) includes a magnetic field generating element configured to generate a direction field toward a media tray for retaining the MSD. Heating elements disposed proximate to the media tray heats the MSD to an elevated temperature before or during the application of a magnetic field. An insulating element at least partially encloses the heating elements to isolate the magnetic field generating element from the heating element.

February 2024

A patent application, US 18/584,658, titled ‘Passive electromagnetic and thermal noise mitigation methods for cryogenic RF devices’ was submitted on February 22, 2024.

Patent Abstract: A cryogenic RF device comprising: a cryogenic enclosure, a cryocooler cold-finger, a sensor, an electromagnetic shield, and a thermal shield. The cryogenic enclosure is capable of maintaining an internal high-vacuum cryogenic environment and includes a radome and a vacuum chamber. The radome is, and the vacuum chamber is not, substantially transparent to desired RF signals. The sensor is disposed on the tip of the cold-finger in the radome. The electromagnetic shield is disposed within the vacuum chamber so as to shield electronic circuitry, but not the sensor, from external electromagnetic radiation. The thermal shield is disposed within the vacuum chamber so as to electrically isolate the electromagnetic shield from vacuum chamber walls. The electromagnetic shield and the thermal shield are electrically- and thermally-isolated from the cold-finger. The electromagnetic shield is electrically connected to at least one grounded electrical conductor that passes through an electrically-isolated feedthrough on the vacuum chamber.

February 2024

A coauthored journal article, titled ‘Manipulation of the magnetic monopole injection for topological transition’ was published in NPG Asia Materials on February 14, 2024.

Paper Abstract: Manipulating the topological properties of spin textures in magnetic materials is of great interest due to the rich physics and promising technological applications of these materials in advanced electronic devices. A spin texture with desired topological properties can be created by magnetic monopole injection, resulting in topological transitions involving changes in the topological charge. Therefore, controlling magnetic monopole injection has paramount importance for obtaining the desired spin textures but has not yet been reported. Here, we report the use of reliably manipulated magnetic monopole injection in the topological transition from stripe domains to skyrmions in an Fe/Gd multilayer. An easily tunable in-plane magnetic field applied to an Fe/Gd multilayer plays a key role in the magnetic monopole injection by modulating the local exchange energy. Our findings facilitate the efficient management of topological transitions by providing an important method for controlling magnetic monopole injection.

January 2024

A two-year collaborative project, titled ‘Superconducting Spintronic Devices’, was funded by the recently established UCSD Naval Innovation, Science, and Engineering Center (NISEC). The basic research project focuses on prototyping a new generation of thin-film heterostructure devices. The goal is to combine the unique properties of superconductors and chiral magnets in devices to realize new building blocks that may enable developing higher complexity superconducting electronic applications. The collaborative project is being pursued with UCSD colleagues: Prof. Eric E. Fullerton and Prof. Alex Frañó.

UCSD NISEC mission is to develop basic research and accelerate its transition into the innovation pipeline using a participatory process in which the Navy’s on the ground technical challenges inform research and innovation projects, and these projects provide opportunities for students to learn about national security priorities and innovation process.

January 2024

A coauthored journal article, titled ‘Periodicity staircase in a centrosymmetric Fe/Gd magnetic thin film system’ was published in NPJ Quantum Materials on January 3, 2024.

Paper Abstract: The presence of multiple competing periodicities may result in a system to go through states with modulated periodicities, an example of which is the self-similar staircase-like structure called the Devil’s Staircase. Herein we report on a novel staircase structure of domain periodicity in an amorphous and centrosymmetric Fe/Gd magnetic thin film system wherein the reciprocal space wavevector Q due to the ordered stripe domains does not evolve continuously, rather exhibits a staircase structure. Resonant X-ray scattering experiments show jumps in the periodicity of the stripe domains as a function of an external magnetic field. When resolved in components, the length-scale step change along Qx was found to be an integral multiple of a minimum step height of 7 nm, which resembles closely to the exchange length of the system. Modeling the magnetic texture in the Fe/Gd system as an achiral spin arrangement, we have been able to reproduce the steps in the magnetization using a Landau-Lifshitz spin dynamics calculation. Our results indicate that anisotropy and not the dipolar interaction is the dominant cause for the staircase pattern, thereby revealing the effect of achiral magnetism.

October 2023

A patent, US11733322B2, titled ‘Electronic package for an electrically small device with an integrated magnetic field bias’ was granted on October 3, 2023.

Patent Abstract: An electronic package includes a mounting platform for mounting an electrically small device, at least one coil, and an insulator. The coil regulates a magnetic field through the electrically small device at the mounting platform. The coil is adapted to conduct a current for nullifying the magnetic field through the electrically small device at the mounting platform. The insulator is between the mounting platform and the coil for isolating the electrically small device from the coil. An electronic circuit includes this electronic package and the electrically small device mounted at the mounting platform of the electronic package. The electrically small device can be a quantum device and/or a topological device when cooled to a cryogenic temperature. The magnetic field is nullified to prevent the magnetic field from adversely affecting the electrically small device.

September 2023

A presentation, titled ‘Chiral magnetic spin textures in centrosymmetric and noncentrosymmetric thin film magnets’ was given by Dr. Montoya at the Spin Electronic and Nanomagnetism Colloquium 2023, which took place in Nancy, France on August 30 - September 2, 2023.

Presentation Abstract: In this talk, we presented work our group has been performing to understand the topological transition between global achiral to global chiral magnetic phases in thin-film magnets. First, we showed that by surveying the field-induced evolution of chiral magnetic spin textures in a centrosymmetric Fe/Gd multilayer, as the perpendicular magnetic field is swept from one polarity to another, the field-stabilized magnetic phases undergo local chiral morphological changes from the stripe phase to skyrmion lattice phase which ultimately enables the formation of two helicity dipole skyrmions under positive and negative applied fields [Comm. Phys. 5, 293 (2022)]. On the second part of this talk, we focused on discussing the local and global chirality changes that occur in the domain morphology when we systematically introduce broken inversion symmetry (via heavy metal Pt/Ir interfaces) into an array of Fe/Gd multilayers. By carefully designing a non-centrosymmetric Fe/Gd-based multilayer, we can achieve a coexistence of opposite helicity chiral magnetic spin textures with unequal Bloch population distribution.

August 2023

A patent, US11733322B1, titled ‘SQUID array with non-uniform wire geometry for detecting magnetic fields over a broad operational temperature range’ was granted on August 22, 2023.

Patent Abstract: A magnetic field detector for detecting magnetic fields over a broad operational temperature range comprising: a plurality of Josephson junctions connected to each other by superconducting interconnecting paths, wherein the plurality of Josephson junctions are arranged in an array; and wherein the superconducting interconnecting paths connecting the plurality of Josephson junctions in the array are designed to not all have a uniform cross-sectional geometry with respect to each other.

August 2023

A coauthored journal article, titled ‘Skyrmion-excited spin-wave fractal networks’ was featured in the Advanced Materials cover on August 17, 2023.

Paper Abstract: Magnetic skyrmions exhibit unique, technologically relevant pseudo-particle behaviors which arise from their topological protection, including well-defined, 3D dynamic modes that occur at microwave frequencies. During dynamic excitation, spin waves are ejected into the interstitial regions between skyrmions, creating the magnetic equivalent of a turbulent sea. However, since the spin waves in these systems have a well-defined length scale, and the skyrmions are on an ordered lattice, ordered structures from spin-wave interference can precipitate from the chaos. This work uses small-angle neutron scattering (SANS) to capture the dynamics in hybrid skyrmions and investigate the spin-wave structure. Performing simultaneous ferromagnetic resonance and SANS, the diffraction pattern shows a large increase in low-angle scattering intensity, which is present only in the resonance condition. This scattering pattern is best fit using a mass fractal model, which suggests the spin waves form a long-range fractal network. The fractal structure is constructed of fundamental units with a size that encodes the spin-wave emissions and are constrained by the skyrmion lattice. These results offer critical insights into the nanoscale dynamics of skyrmions, identify a new dynamic spin-wave fractal structure, and demonstrate SANS as a unique tool to probe high-speed dynamics.